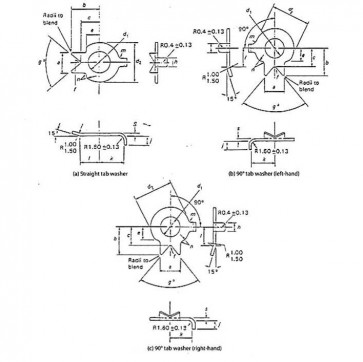
Metric Tab Locking Washer Steel BS5814
Metric Tab Locking Washer Steel bs5814
size | M 4 | M 5 | M 6 | M 8 | M 10 | M 12 | M 14 | M 16 | M 20 | M 24 | M 30 |
---|---|---|---|---|---|---|---|---|---|---|---|
d 1 (Max) | 4.23 | 5.23 | 6.23 | 8.27 | 10.27 | 12.30 | 14.30 | 16.30 | 20.38 | 24.38 | 30.38 |
d 1 (Min) | 4.05 | 5.05 | 6.05 | 8.05 | 10.05 | 12.05 | 14.05 | 16.05 | 20.05 | 24.05 | 30.05 |
d 2 (Max) | 9.00 | 10.00 | 12.50 | 17.00 | 21.00 | 24.00 | 28.00 | 30.00 | 37.00 | 44.00 | 56.00 |
d 2 (Min) | 8.70 | 9.70 | 12.10 | 16.60 | 20.50 | 23.50 | 27.50 | 29.50 | 36.20 | 43.20 | 55.00 |
S (Max) | 1.07 | 1.07 | 1.07 | 1.28 | 1.28 | 1.28 | 1.28 | 1.28 | 1.68 | 1.68 | 1.68 |
S (Min) | 0.93 | 0.93 | 0.93 | 1.12 | 1.12 | 1.12 | 1.12 | 1.12 | 1.52 | 1.52 | 1.52 |
a + 0.25 0 | 5.00 | 5.50 | 6.50 | 8.00 | 10.50 | 12.00 | 14.00 | 16.00 | 20.00 | 24.00 | 30.00 |
b + 0.25 0 | 7.00 | 8.00 | 9.00 | 11.00 | 14.00 | 16.00 | 18.00 | 19.00 | 23.00 | 27.00 | 35.00 |
c + 0.25 0 | 4.00 | 4.20 | 5.60 | 6.60 | 9.00 | 10.30 | 11.50 | 12.70 | 15.00 | 19.00 | 24.50 |
e -+ 0.25 | 2.50 | 3.00 | 4.00 | 5.00 | 6.00 | 7.00 | 8.00 | 9.00 | 11.00 | 13.50 | 17.50 |
f -+ 0.25 | 0.40 | 0.50 | 0.60 | 1.00 | 1.20 | 1.30 | 1.30 | 1.30 | 1.30 | 2.50 | 2.50 |
g -+ 2 degree | 60 | 60 | 60 | 60 | 60 | 80 | 80 | 80 | 90 | 95 | 95 |
h 0 - 0.12 | 3.00 | 3.00 | 3.00 | 4.00 | 4.00 | 4.90 | 4.90 | 4.90 | 6.00 | 8.20 | 8.20 |
j 0 - 0.25 | 2.40 | 2.50 | 2.50 | 2.50 | 3.80 | 3.80 | 3.80 | 3.80 | 3.80 | 3.80 | 4.50 |
k -+ 0.20 | 6.10 | 6.60 | 7.50 | 10.20 | 12.00 | 13.50 | 15.80 | 16.70 | 20.30 | 26.00 | 32.00 |
l -+ 0.20 | 5.00 | 5.50 | 6.00 | 7.50 | 10.00 | 11.00 | 13.00 | 14.00 | 17.50 | 21.50 | 27.00 |
m -+ 0.30 | 1.00 | 1.00 | 1.00 | 1.30 | 1.30 | 1.30 | 1.30 | 1.90 | 2.50 | 2.50 | 2.50 |
n -+ 0.25 | 1.00 | 1.00 | 1.00 | 1.00 | 1.00 | 1.30 | 1.30 | 1.30 | 1.50 | 1.50 | 1.50 |
Metric Tab Locking Washer Steel bs 5814 MULTI nuclear lock
Weight | 0.0100 |
---|---|
Material | 0 |
Standard Number | No |
Second Standard | No |
Drive | Non |
Head | NON |
American Generic Brand Term | No |
Diameter | RANGE |
Length | No |